Здравствуйте Коллеги!
Опыта постройки самодельных транспортных средств не имею, зато опыт не скажу что реставрации, но восстановления старой двух-трехколесной техники достаточно богат, руки вроде растут оттуда, откуда надо. Так говорят...))) Ди и люблю я стиль "ретро".
И вот пришла мне в голову безумная идея - сделать с нуля опубликованный когда-то в журнале "М-К" проект трицикла "Робот", сделанный профессором Игнатьевым аж в 1976-м году. Как сказали бы сейчас - обратный трайк. https://modelist-konstruktor.com/razrab ... -avtomobil. Но именно в таком виде, в каком он был задуман мастером, возможно только без подвески на поперечной рессоре и с мотором не от Тулы, а от чего-нибудь посовременнее, да с вариатором. Что скажете?
ЛОДКА? МОТОЦИКЛ? — АВТОМОБИЛЬ!
Модератор: User buggy
Re: ЛОДКА? МОТОЦИКЛ? — АВТОМОБИЛЬ!
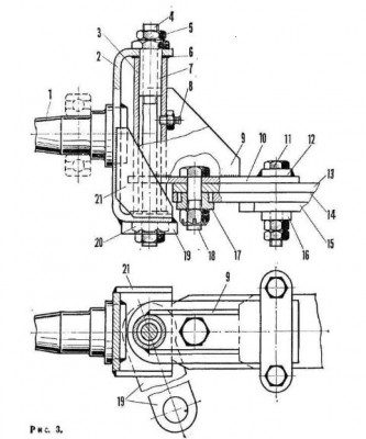
А я помню эту публикацию... так там основная идея как раз в передней подвеске на рессоре поперечной вроде? если уж повторять то именно так, а если на рычагах делать то лучше обычные ступицы брать.
Re: ЛОДКА? МОТОЦИКЛ? — АВТОМОБИЛЬ!
Да, подвеска именно на поперечной рессоре. Но боюсь, что в случае реализации данной идеи не обойтись без токарных работ, навыками и оборудованием коим не владею. В случае же рычагов возможно обойтись готовыми деталями. Возможно...
Вообще не покидает ощущение, что Игнатов в свое время где-то подсмотрел Inter-175A-Berline-Microcaк, уж больно много общего)
Вообще не покидает ощущение, что Игнатов в свое время где-то подсмотрел Inter-175A-Berline-Microcaк, уж больно много общего)
Re: ЛОДКА? МОТОЦИКЛ? — АВТОМОБИЛЬ!
В случае с поперечной рессорой конструкция поворотных цапф мне совершенно непонятна.(( Как поворотный кулак может крепиться только одной (нижней) стороной к коренному листу рессоры? Насколько надежна таая конструкция?(
Re: ЛОДКА? МОТОЦИКЛ? — АВТОМОБИЛЬ!
Shkiper, там стоят две косынки. Может проще сделать однорычажную?
Re: ЛОДКА? МОТОЦИКЛ? — АВТОМОБИЛЬ!
Так одна рессора это и будет однорычажка. Для легкой машины с небольшой максимальной скоростью наверное интересное решение.
Кстати зря боитесь рессор, их только сверлить тяжело, зато подвеска на них очень простая и изящная.
Кстати зря боитесь рессор, их только сверлить тяжело, зато подвеска на них очень простая и изящная.
